事项名称:兽药经营许可
政策依据:《兽药管理条例》(国务院令第404号)
受理单位:扶风县农业局
办理地点:扶风县城关街道飞凤路30号执法大队办公楼2楼
办理时间:法定工作日(法定节假日除外)8:00-12:00 14:00-18:00;7月、8月8:00-12:00 15:00-18:00
联系电话:0917-5215915
申报条件:1、与所经营的兽药相适应的兽药技术人员; 2、与所经营的兽药相适应的营业场所、设备、仓库设施; 3、与所经营的兽药相适应的质量管理机构或者人员; 4、兽药经营质量管理规范规定的其他经营条件。
提交材料:1、《<兽药经营许可证>申请表》一式两份(原件); 2、申报条件所需证明材料复印件。
办理时限:30个工作日(不含实地考察时间)
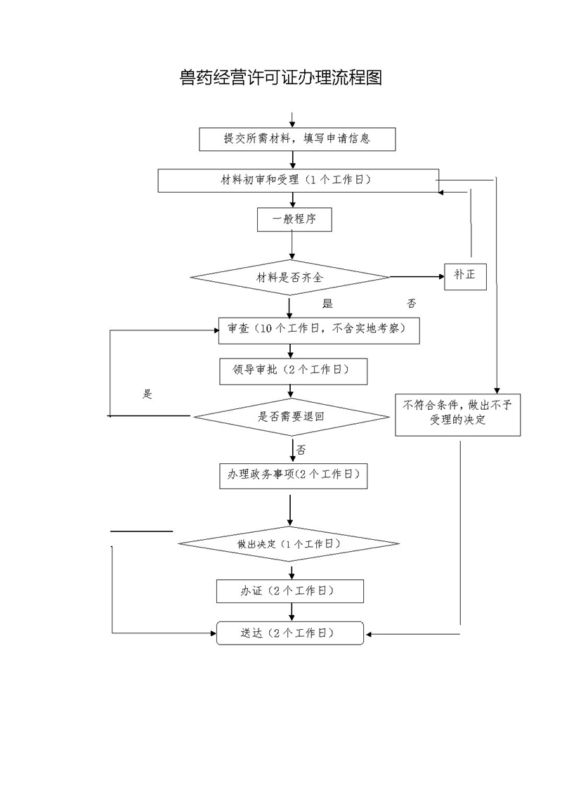
办理流程:

Copyright ? 2016 www.yx1912.com All Rights Reserved. bet55365体育在线投门户网
陕ICP备12002704号 网站标识码:6103240002
联系我们:0917-5211328